分紅等級升級條件增加考核團隊總業績,啟博云微分銷第195期更新
發布時間:[2021-05-20]分類:產品動態
1、 訂單導出列表里增加一個“商品分組”字段【新增】
使用場景:方便商家核對訂貨商團隊業績
原邏輯:導出訂單沒有商品分組字段
現邏輯:訂單-導入導出-導出訂單,新增" 商品分組"字段,可以導出下單時,訂單中商品所屬的商品分組
2、 全球分紅的分紅等級升級條件增加考核團隊總業績【新增】
使用場景:增加考核團隊業績,升級分紅會員門檻
原邏輯:升級添加沒有代理商團隊訂單總額滿足條件
現邏輯:財務-全球分紅-靜態分紅-分紅等級:增加代理商團隊訂單總額滿X元可以升級到對應分紅等級
3、 門店可以檢索手機號并核銷優惠券【新增】
使用場景:解決沒有智能機的老年人群體,優惠券的核銷使用問題以及降低門店加盟門檻,沒有電腦,可以通過手機端直接核銷
原邏輯:無此入口
現邏輯:
1、店鋪-店鋪裝修-會員主頁:門店中心新增優惠券核銷入口
2、門店中心增加”優惠券核銷”入口,可以搜索會員手機號碼/會員ID查看持有優惠券,且支持優惠券核銷
4、 員工傭金是否從門店傭金中出【新增】
用戶場景:新增"員工傭金是否從門店傭金中出"設置項,如果門店傭金不夠扣,最大能拿到的員工傭金也只能等于門店傭金或者門店差價
原邏輯:無此功能
現邏輯:開啟設置項,員工傭金從門店傭金中扣除
操作流程:
(1)關閉“允許門店購買庫存”
(2)開啟“員工傭金從上級門店傭金中扣”
(3)手機端下單門店商品,后臺查看訂單詳情
5、云倉禮包增加多sku商品的庫存設置【新增】
用戶場景:關聯商品表內新增編輯sku按鈕(無sku的商品則不顯示此按鈕),點擊后顯示sku信息點擊編輯商品才顯示sku表格信息
原邏輯:云倉禮包關聯商品不支持sku商品
現邏輯:云倉禮包關聯商品可以選擇sku商品,且根據sku商品的訂貨價返上級訂貨商成本
操作流程:
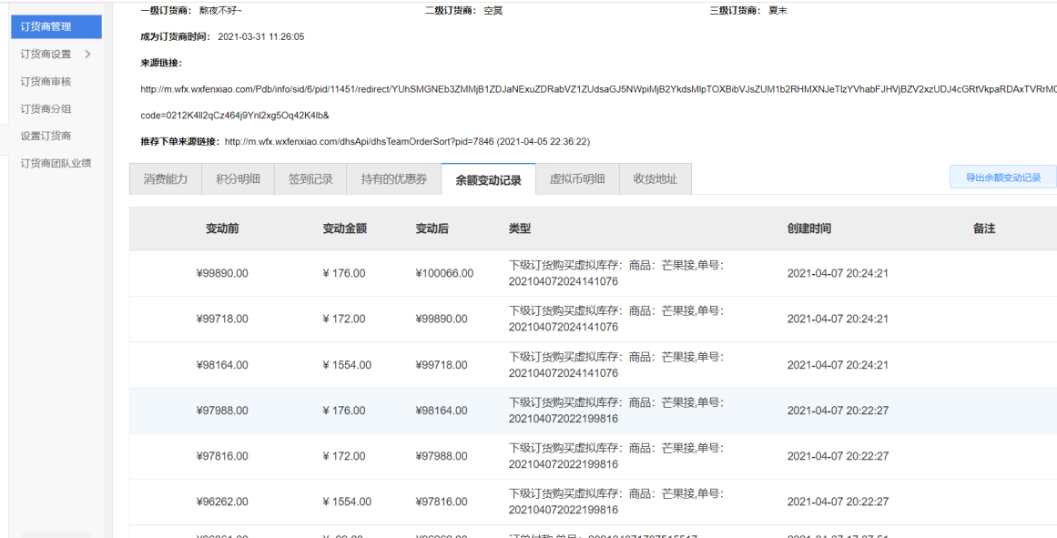
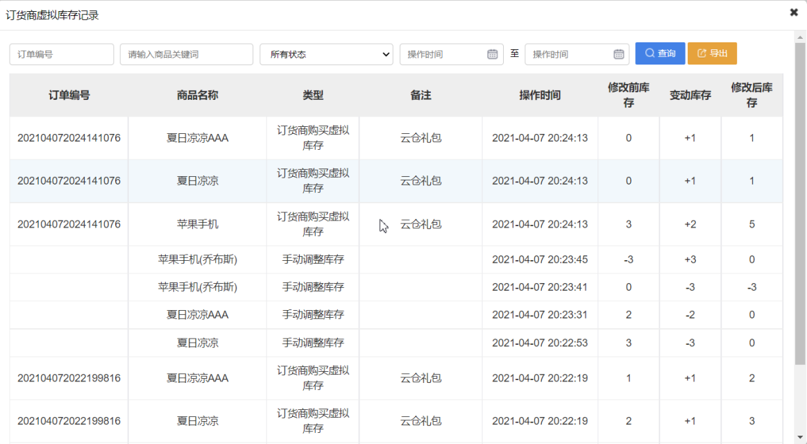
(1) 云倉禮包關聯商品選擇并添加sku商品,點擊編輯sku,輸入sku數量
(2)手機端下單云倉禮包商品,會員升級為訂貨商,查到該訂貨商詳情
(3)查看上級訂貨商虛擬庫存記錄
(4)查看上級訂貨商詳情余額返成本

電話咨詢
免費試用
預約演示
價格咨詢
獲取方案